Wstęp
Spis treści
We współczesnych realiach technologicznych zapewnienie programom komputerowym właściwej ochrony stanowi dla wielu przedsiębiorców absolutną podstawę funkcjonowania na rynku.
W tym kontekście dość powszechna jest świadomość, że programy komputerowe chroni prawo autorskie. To prawda. Programy komputerowe podlegają ochronie prawnoautorskiej jako utwory i to bez konieczności spełnienia jakichkolwiek formalności. Taka ochrona obejmuje jednak wyłącznie formę wyrażenia, czyli głównie kod źródłowy i wynikowy. Nie zabezpiecza to sposobu działania programu ani jego funkcji. Ochronę tych elementów można natomiast uzyskać poprzez patent.
Przedsiębiorcy często jednak z góry odrzucają możliwość uzyskania patentu na stworzony program komputerowy, działając w przekonaniu, że nie jest to możliwe. W rzeczywistości programy komputerowe jak najbardziej można patentować – jak wynika z ustawy Prawo własności przemysłowej (PWP) z ochrony wyłączone są jedynie programy komputerowe „jako takie”[1]. Identyczną regulację na poziomie międzynarodowym ustanawia Konwencja o udzielaniu patentów europejskich (KPE)[2]. Cóż to jednak znaczy? Najlepiej pokaże to opis praktyki polskiego i europejskiego urzędu patentowego.
Jak dotychczas wyglądała kwestia udzielania patentów na programy komputerowe przez Urząd Patentowy RP (UPRP)?
Do przekonania wielu przedsiębiorców o niepatentowalności programów komputerowych w znacznym stopniu przyczyniła się praktyka Urzędu Patentowego z ostatnich kilkunastu lat. Dotychczas podejście polskiego urzędu do ochrony patentowej programów komputerowych było bardzo rygorystyczne.
W praktyce pojawienie się w zgłoszeniu patentowym elementów software’owych w zgłoszonych wynalazkach najczęściej komplikowało i wydłużało postępowanie patentowe, które przeważnie i tak kończyło się odmową udzielenia patentu. Jako podstawę odmowy udzielenia ochrony Urząd Patentowy zazwyczaj wskazywał, że wynalazki tego typu nie mają charakteru technicznego – a konkretnie nie mają charakteru materialnego lub nie powodują skutku „oddziaływania na materię” i są tym samym abstrakcyjne. Przez lata w Polsce ugruntował się bowiem pogląd, że za rozwiązania mające charakter techniczny uważa się „metody (sposoby) fizykochemicznego oddziaływania na materię, wytwory materialne będące wynikiem zastosowania takiej metody lub służące uzyskaniu skutku oddziaływania na materię”[3].
W konsekwencji, jeśli polski urząd udzielał patentu na rozwiązania wykorzystujące technologie komputerowe, to były to zazwyczaj jedynie rozwiązania sprzętowo-programowe, w których występowało oddziaływanie na materię, a program w pewien sposób wspierał układ sterujący pracą określonej maszyny lub inny mechanizm o charakterze silnie materialnym. Przykładem jest patent na układ sterowania urządzeniem elektronicznym (Pat. 226963)[4]. Dotyczy on systemu zdalnego sterowania urządzeniami – za pomocą telefonu lub komputera. Zastrzeżenie niezależne określające zakres ochrony tego prawa ma następującą treść:
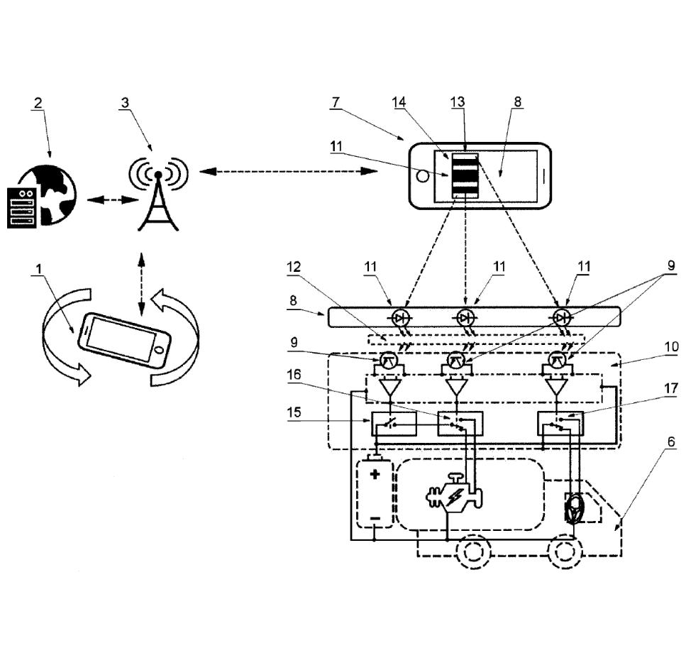
Układ sterowania co najmniej jednym urządzeniem za pomocą zdalnego terminala sterującego (1) zawierającego odpowiednie oprogramowanie sterujące, z którego dane sterujące przesyłane są poprzez serwer aplikacji (2) z wykorzystaniem telekomunikacyjnej sieci mobilnej (3) do urządzenia mikrokomputerowego (4) połączonego poprzez interfejs komunikacyjny (5) ze sterowanym urządzeniem (6), znamienny tym, że urządzenie mikrokomputerowe (4) stanowi lokalny telefon komórkowy (7), którego wybrane obszary ekranu (8) są optycznie sprzęgnięte z fotodetektorami (9) modułu dekodująco-sterującego (10) sterowanego urządzenia (6), zaś ekran (8) lokalnego telefonu komórkowego (7) ma zespół pól emisyjnych (11) wydzielonych na określonym obszarze ekranu (8), przy czym pola emisyjne (11) ekranu (8) lokalnego telefonu komórkowego (7) współpracują bezpośrednio z fotodetektorami (9) modułu dekodująco-sterującego (10) sterowanego urządzenia (6).

Jak widać, program komputerowy jest tu tylko elementem układu, który zdefiniowany jest poprzez wskazanie szeregu podzespołów technicznych. Samo zastrzeżenie nie odnosi się przy tym do sposobu funkcjonowania programu komputerowego.
Z odmową udzielenia ochrony spotykała się zdecydowana większość wynalazków, w których działanie oprogramowania polegało na przetwarzaniu lub analizie danych. Na przykład nie udzielono patentu na aplikację mobilną do skanowania kodów kreskowych z rachunków i opłacania rachunków za pomocą karty płatniczej (P.399999)[5] czy oprogramowanie (aplikację) dla telefonu komórkowego służące do ułatwienia zasypiania (P.411958)[6].
Sceptycyzm UPRP wobec patentowania oprogramowania można zauważyć też przy analizie orzeczeń sądów administracyjnych, rozpatrujących skargi od decyzji UPRP. Sądy w swoich wyrokach często zarzucały urzędowi brak podążania za linią orzeczniczą EPO, przemawiającą za wyraźną liberalizacją oceny przesłanek patentowych w odniesieniu do wynalazków wykorzystujących programy komputerowe[7].
Jak do patentowania programów komputerowych podchodzi Europejski Urząd Patentowy (EPO)?
Stanowisko Europejskiego Urzędu Patentowego było w tym zakresie o wiele mniej rygorystyczne. Mimo że w myśl przepisów KPE programy komputerowe „jako takie” są wyłączone z możliwości patentowania, EPO przyjmuje, że, zgodnie z ogólnie stosowanymi kryteriami, wyłączenie to nie dotyczy programów komputerowych o charakterze technicznym[8]. Aby program komputerowy miał charakter techniczny, a zatem miał zdolność patentową, musi jednak wywoływać tzw. dalszy skutek techniczny, czyli taki, który wykracza poza normalne fizyczne oddziaływanie pomiędzy programem a sprzętem (komputerem lub innym urządzeniem), na którym został uruchomiony[9]. Dalszego skutku technicznego nie wywołuje zatem praca procesora komputera związana z uruchomieniem programu bądź obieg prądu elektrycznego w komputerze. Skutek ten może natomiast dotyczyć zarówno kontroli danego procesu technicznego, jak i formy działania interfejsu komputera lub wewnętrznego funkcjonowania samego komputera (w kontekście chociażby mniejszego używania pamięci)[10].
W świetle orzecznictwa EPO uznaje się, że jeśli program komputerowy został zaprojektowany w oparciu o szczególne względy techniczne dotyczące wewnętrznego funkcjonowania urządzenia, na którym ma działać, to wywołuje on dalszy skutek techniczny. Przykładowo zatem charakter techniczny mają programy służące do równoważenia obciążenia procesora lub przydziału pamięci. Podobnie programy wykorzystywane do przetwarzania kodu na niskim poziomie, takie jak konstruktory czy kompilatory, zwykle mają tę cechę[11]. Dalszy skutek techniczny może również odnosić się do kontroli samego procesu technicznego. Wywołuje go na przykład program komputerowy, który przywraca zniekształcony obraz cyfrowy czy szyfruje komunikację elektroniczną[12].
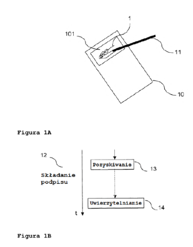
Przykładem praktyki EPO może być patent EP 2474937 na wynalazek pt. „Sposób elektronicznego uwierzytelniania podpisu odręcznego, moduł i oprogramowanie komputerowe”. W zastrzeżeniu pierwszym wskazuje on:
Sposób elektronicznego uwierzytelniania podpisu odręcznego (1) użytkownika, złożonego na powierzchni do pisania (101) za pomocą narzędzia do pisania (11), znamienny tym, że obejmuje: - etap pozyskiwania (13) przez powierzchnię do pisania w co najmniej jednym miejscu składania podpisu (12) co najmniej jednej danej odpowiadającej wysokości z narzędzia do pisania (11) w stosunku do powierzchni do pisania (101) w obszarze bliskim do tej powierzchni do pisania (101), gdzie dana wysokość z odpowiada pionowej zmiennej odległości oddzielającej końcówkę narzędzia do pisania od powierzchni do pisania, etap pozyskiwania danej (13) prowadzi się przez pomiar pojemności za pomocą pojemnościowego obszaru dotykowego powierzchni do pisania (101); - etap uwierzytelniania (14) odręcznego podpisu (1) z uwzględnieniem co najmniej wysokości z.

Co jednak kluczowe, w zastrzeżeniu 11 wyraźnie wskazano, że patent rozciąga się też na program komputerowy zawierający instrukcje realizacji etapów sposobu uwierzytelniania określonego [powyższym zastrzeżeniem 1], gdy program jest realizowany przez komputer.
Mamy tu więc podręcznikowy przykład „patentu na program komputerowy”. Takich praw znajdziemy dziś w rejestrach tysiące.
Przez Monachium do Polski
W wyniku znacznej różnicy między podejściem UPRP a EPO do patentowania wynalazków opartych na oprogramowaniu, przedsiębiorcy bardzo często decydowali się na procedurę europejską, żeby następnie walidować patent w Polsce – nawet pomimo o wiele wyższych kosztów niż w przypadku standardowej procedury krajowej. Co istotne, po udzieleniu patentu europejskiego, polski urząd patentowy nie może odmówić jego walidacji, jeśli przedłożone zostanie tłumaczenie patentu na język polski i wniesiona zostanie prawidłowa opłata. To właśnie w ten sposób w Polsce chroniony jest przywołany wyżej patent na program komputerowy w zakresie elektronicznego uwierzytelniania podpisu odręcznego.
Dlaczego w Polsce rzadko można było uzyskać patent na programy komputerowe?
Tak wyraźny rozdźwięk między praktyką UPRP a EPO wynikał przede wszystkim z dwóch czynników: redakcyjnych różnic między przepisami PWP a KPE oraz przyjęcia przez ekspertów UPRP bardzo rygorystycznego nastawienia do zdolności patentowej wynalazków opartych na programach komputerowych. Do momentu nowelizacji PWP[13] z 16 października 2019 r. (weszła w życie 27 lutego 2020 r.) art. 28 ustawy wskazywał, że za wynalazki nie uważa się m.in. programów komputerowych (bez dalszego doprecyzowania), a art. 33 ust. 3 zawierał przesłankę tzw. technicznego oddziaływania wynalazku na materię. Eksperci UPRP bardzo często jako uzasadnienie odmowy udzielenia patentu na wynalazek wykorzystujący program komputerowy powoływali dawny art. 28 oraz brak spełnienia wymogu technicznego oddziaływania na materię. Nowelizacja dodała jednak do ustawy art. 28 ust. 2, który przesądził, że nie uważa się za wynalazki jedynie programów komputerowych „jako takich”. Usunięto także z art. 33 ust. 3 wymóg technicznego oddziaływania na materię.
Konwencja o patencie europejskim natomiast zawsze posiadała przepisy doprecyzowujące, że wynalazkami nie są programy komputerowe „jako takie” oraz nigdy nie zawierała przesłanki technicznego oddziaływania na materię, dlatego przepisy nie pozostawiały dodatkowych możliwości do odmów udzielenia patentów.
W obecnym stanie prawnym zlikwidowanie wymogu technicznego oddziaływania na materię pozbawiło jednak UPRP głównego argumentu do odmawiania ochrony patentowej rozwiązaniom wykorzystującym programy komputerowe. Ponadto, dodanie do opisywanych cech technicznych nowej kategorii jaką są urządzenia wydaje się wprost dopuszczać sytuację, w której przedmiotem zgłoszenia są wynalazki (urządzenia) wspomagane komputerowo. Dodatkowo, klarowne wskazanie w art. 28 PWP, że z ochrony patentowej wyłączone są jedynie programy komputerowe „jako takie” eliminuje możliwość odmowy udzielenia ochrony na wynalazki wykorzystujące programy komputerowe poprzez kwalifikowanie ich jako programy komputerowe w ogólności. Obowiązujące przepisy otwierają zatem furtkę do liberalizacji praktyki UPRP w ocenie zgłoszeń patentowych dotyczących programów komputerowych. Można mieć zatem nadzieję, że podejście UPRP zbliży się w tym zakresie do podejścia EPO.
Nowe wytyczne UPRP
Nadzieję na zasadniczą zmianę wzmacnia również kształt najnowszych wytycznych Prezesa UPRP z 9 stycznia 2023 r. w zakresie wynalazków i wzorów użytkowych[14], w których widać dużą zbieżność z wytycznymi EPO[15]. Zgodnie z ich treścią program komputerowy ma charakter techniczny, a tym samym zdolność patentową, jeżeli wywołuje wspomniany wcześniej dalszy efekt techniczny, rozumiany jako wykraczający poza „normalne” interakcje między programem (oprogramowaniem) a komputerem (sprzętem), na którym jest on uruchamiany. Wśród przykładów dalszych efektów technicznych, które nadają charakter techniczny programowi komputerowemu wymienia się kontrolę procesu technicznego (programy kontrolujące sposób zapobiegania blokowania kół w samochodzie, wyznaczanie dawki w urządzeniu rentgenowskim czy kompresję obrazu) oraz kontrolę wewnętrznego funkcjonowania samego komputera lub jego interfejsów (programy komputerowe wdrażające środki bezpieczeństwa dla ochrony integralności rozruchu czyli zabezpieczenia procesu uruchamiania poprzez zapobieżenie instalacji złośliwego oprogramowania lub środki zaradcze przeciwko atakom wynikającym z analizy mocy).
W wytycznych UPRP również wprost zawarto stwierdzenie, że zarzutu braku technicznego charakteru nie można postawić w odniesieniu do zastrzeżeń dotyczących sposobu realizowanego za pomocą komputera, nośnika pamięci odczytywalnego przez komputer lub urządzenia, ponieważ każdy sposób wykorzystujący środki techniczne (np. komputer) i każdy środek techniczny jako taki (np. komputer lub nośnik pamięci do odczytu przez komputer) mają charakter techniczny, a zatem stanowią wynalazki w rozumieniu art. 24 pwp.
Wytyczne zawierają też przykłady redagowania zastrzeżeń wynalazków realizowanych za pomocą komputera. Wyraźnie wskazuje się przy tym, że w zgłoszeniu może występować zastrzeżenie dotyczące programu komputerowego jako produktu. Wskazane w wytycznych przykłady to:
- „Program komputerowy zawierający instrukcje, które po wykonaniu tego programu przez komputer powodują, że komputer wykonuje etapy sposobu z zastrzeżenia nr 1”.
- „Program komputerowy zawierający instrukcje, które po wykonaniu tego programu przez komputer powodują, że komputer wykonuje etapy A, B…;”
Oznacza to, że program komputerowy, który w nowy i nieoczywisty sposób rozwiązuje problem techniczny powinien zostać opatentowany. Zakres ochrony takiego patentu wyznaczać będą zastrzeżenia, które opisują sposób działania programu (a nie jego konkretny kod, jak w przypadku ochrony prawnoautorskiej).
Jest to spójne z utrwaloną praktyką decyzyjną EPO, co można odczytać jako intencję zbliżenia do niej praktyki UPRP.
Jakie znaczenie dla przedsiębiorców ma zmiana nastawienia UPRP?
Analiza kształtu wytycznych UPRP skłania ku przekonaniu, że polski Urząd zamierza zliberalizować swoje podejście do wynalazków wykorzystujących programy komputerowe i częściej udzielać na nie ochrony. Co więcej, na podstawie art. 270 ust. 1 pkt 2 PWP eksperci rozpatrujący zgłoszenia mają obowiązek przestrzegać wytycznych Prezesa UPRP, dlatego rzeczywista praktyka Urzędu powinna zawsze odpowiadać wytycznym. Dla spółek działających międzynarodowo, które i tak dokonywałyby zgłoszeń w procedurze europejskiej zmiana praktyki UPRP nie będzie miała fundamentalnego znaczenia. Natomiast dla małych i średnich przedsiębiorstw działających głównie w skali krajowej liberalizacja stanowiska UPRP może pozwolić na odejście od zgłaszania wynalazków w procedurze przed EPO, żeby następnie walidować taki patent na terenie Polski. Dokonywanie zgłoszeń bezpośrednio przed UPRP automatycznie przełożyłoby się też na o wiele niższe opłaty urzędowe.
Zmianę nastawienia Urzędu Patentowego RP wyrażoną w wytycznych należy ocenić pozytywnie. Możemy oczekiwać, że w najbliższym czasie sytuacja wielu polskich przedsiębiorców zamierzających chronić swoje rozwiązania oparte na programach komputerowych ulegnie znacznej poprawie. Dotyczyć to będzie zwłaszcza małych i średnich przedsiębiorstw, dla których ścieżka europejska była dotychczas niedostępna.
Adam Najdul i Bartosz Fert
prawnicy związani z kancelarią patentową: Fert Jakubiak Wróblewski rzecznicy patentowi. O ochronie prawnej programów komputerowych piszą między innymi na blogu kancelariiOtwiera się w nowej karcie
[1] Art. 24 w zw. z art. 28 ust. 1 pkt 5 i art. 28 ust. 2 Prawa własności przemysłowej (Dz. U. z 2021 r. poz. 324).
[2] Art. 52 Konwencji o udzieleniu patentów europejskich (Konwencji o patencie europejskim), sporządzonej w Monachium dnia 5 października 1973 r. (Dz. U. 2004 nr 79 poz. 737).
[3] Tak WSA w Warszawie w wyroku z 26.01.2009 r., sygn. akt VI SA/Wa 1044/08.
[4] Więcej Otwiera się w nowej karcie
[5] WięcejOtwiera się w nowej karcie
[6] WięcejOtwiera się w nowej karcie
[7] Tak wyrok Naczelnego Sądu Administracyjnego z 24 kwietnia 2014 r. o sygn. akt II GSK 78/13.
[8] Wytyczne EPO, marzec 2023, część G, rozdział II-3.6,Otwiera się w nowej karcie
[9] Decyzja Izby Odwoławczej EPO z 1.07.1998 r. w sprawie T 1173/97 (Computer program product /IBM),Otwiera się w nowej karcie
[10] Par. 3.7. decyzji Izby Odwoławczej EPO z 31.05.1994 r. w sprawie T 0769/92 (General purpose management system),Otwiera się w nowej karcie
[11] Wytyczne EPO, marzec 2023, część G, rozdział II-3.6.1,Otwiera się w nowej karcie
[12] Ibidem.
[13] Ustawa z dnia 16 października 2019 r. o zmianie ustawy - Prawo własności przemysłowej oraz ustawy o kosztach sądowych w sprawach cywilnych (Dz. U. z 2019 r. poz. 2309).